【刘畊宏|王心凌火了之后,刘畊宏不火了?他的微博转发不到100个】
文章图片

文章图片

文章图片

文章图片
看点:2022年5月25日 , 刘畊宏更新微博大赞老婆王婉霏游泳很厉害 , “我老婆唯一比我厉害的运动就是游泳 , 自由式游的非常标准 , 而且也能游很远 。 所以……她跟我跳操划水也是合理的” 。
刘畊宏还晒出了自己和王婉霏在露天泳池的合照 , 照片中 , 王婉霏穿着漂亮的鱼尾 , 像美人鱼一样 。 但是 , 刘畊宏发这条微博 , 主要还是吐槽王婉霏 , 和他一起跳操的时候经常喊累 , 是亲老公无疑了——刘畊宏跳操太费老婆了 。
刘畊宏这条微博是5月25日上午9点17分发布的 , 截止到晚上7点 , 转发量还不到100个 , 评论量只有1044个 , 点赞量只有1.3万个 , 有点太少了吧?连自称是十八线明星的07快男苏醒 , 发一条微博都有561个转发量 , 4994个评论量 , 2.7万个的点赞量 。
难道刘畊宏这么快就过气了吗?难道是因为王心凌突然爆火了?抢了刘畊宏的风头?王心凌在5月23日发了一条微博 , 转发量是1.4万 , 评论量是3.5万 , 点赞量是63.2万 , 比她参加《乘风破浪的姐姐3》之前的微博互动量高了太多 。
刘畊宏是台湾人 , 王心凌也是台湾人 , 他们俩先后爆红 , 是不是台湾资本在捧他们呢?有这个可能 , 要不然不会出现了“刘畊宏女孩”之后 , 又出现了“王心凌男孩” , 营销的方式很相同 。 但是 , 王心凌爆红之后 , 刘畊宏并没有过气 。
因为刘畊宏在微博一直不怎么红 , 他最红的平台是某短视频平台 , 粉丝已经接近7000万了 , 而王心凌在这个短视频平台的粉丝只有638万 。 所以 , 他们互不干扰:一个是健身教练 , 一个是唱跳偶像;一个是男生 , 一个是女生 , 没有竞争关系 。
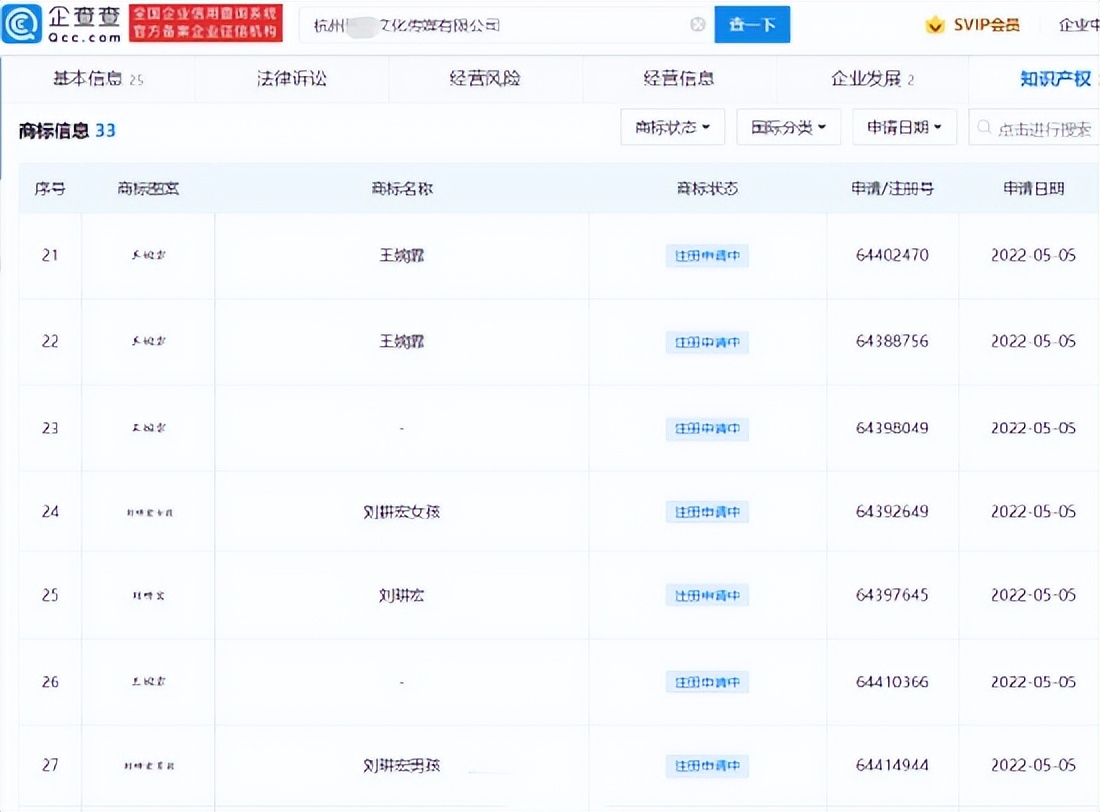
非著名娱评人吴清功指出:刘畊宏爆火后 , 不仅“刘畊宏”商标被抢注了 , “刘畊宏女孩”和王婉霏的名字也被抢注成商标了 。 杭州某文化传媒公司申请了十多个“王婉霏”商标 , 申请日期均在今年5月5日 , 商标状态均为注册申请中 。
此外 , 该公司还申请了多个“刘畊宏”商标 , 商标状态也均为注册申请中 。 此外 , “刘畊宏女孩”也被广西一公司申请注册 , 国际分类为日化用品 。 “王心凌男孩”的商标也可能被抢注了 , 这都是商机啊 。
讨论:刘畊宏和王心凌 , 你更喜欢谁?
推荐阅读
- 王心凌|王心凌翻红24小时后,一张偷拍照流出惹众怒:天啊,真没想到!
- 郭碧婷|七仔说八卦:刘些宁 肖战 郭碧婷 董子健 宋妍霏 吴宣仪 吴尊 千玺 王心凌
- 陈伟霆|七仔说八卦:章子怡 赵丽颖 张小斐 陈伟霆 朱亚文 屈楚萧 王心凌 于文文
- 王心凌|40岁的王心凌再一次翻红,状态是真好,家也收拾得如此清爽接地气
- 窦骁|娱乐点评:易烊千玺、杨洋、宋轶、万茜、王心凌、窦骁
- 王心凌|王心凌前男友突然发文:都是老天鹅,网友:别兴风作浪
- 阿娇|同为唱跳女王级人物,41岁阿娇和40岁王心凌,为什么差别这么大呢?
- 吕一|吕一:一顿火锅与丈夫结缘,和婆婆情同姐妹,日子红红火火有滋味
- 王心凌|先别管输赢了!2政府介入调查安柏赫德“漫天大谎”已触法
- |《余生请多指教》第二轮星播出,配角的热度也是实火的证明
